logo
russian
english
français
Deutsch
Italiano
Русский
Español
português
Nederlandse
ελληνικά
日本語
한국
العربية
हिन्दी
Türkçe
bahasa indonesia
tiếng Việt
ไทย
বাংলা
فارسی
polski
Домой > продукты > Противовибрационный демпфер веревочки провода >
Виброизолятор троса-бабочки для стабилизатора подвеса БПЛА

Виброизолятор троса-бабочки для стабилизатора подвеса БПЛА

Противовибрационный демпфер веревочки провода бабочки

Амортизатор веревочки провода стабилизатора карданного подвеса UAV

Амортизаторы удара веревочки провода нержавеющей стали

Место происхождения:

Китай (материк)

Фирменное наименование:

Kacise

Сертификация:

ISO9001:2008

Номер модели:

ГР4

Свяжитесь с нами
Запросите цитату
Подробная информация о продукции
Тип::
Шум и затухание
Материал::
алюминий или нержавеющая сталь
Сертификат::
ISO9001:2008
Использование::
Промышленные машины
Применение::
Противовибрационный демпфер камеры серии изоляции GR1 вибрации удара стрельбы трутня фотографии кард
Выделить:

Противовибрационный демпфер веревочки провода бабочки

,

Амортизатор веревочки провода стабилизатора карданного подвеса UAV

,

Амортизаторы удара веревочки провода нержавеющей стали

Условия оплаты и доставки
Количество мин заказа
1 пс
Цена
обсуждаемый
Упаковывая детали
каждая единица имеет индивидуальную коробку, и все коробки упакованы в стандартные пакеты или доступ
Время доставки
5-8 день работы
Условия оплаты
Аккредитив, Д/А, Д/П, Т/Т, Вестерн Юнион, МонейГрам, ПайПал
Поставка способности
10000 штук в неделю
Описание продукта

GR4 изысканная камера гимбал стабилизатор вертолет дрон удар вибрация изоляция нержавеющая сталь камера вибрация изоль

 

1. Описание продукта

 

 

 

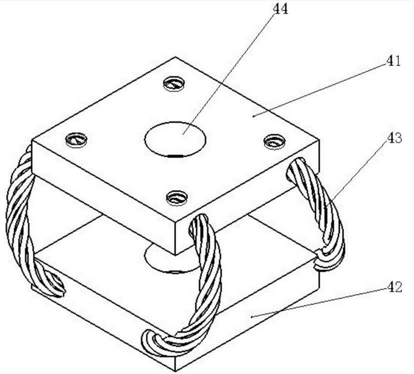
Изоляторы GX Compact Wire Rope отличаются простой установкой в одной точке, что позволяет им устанавливать практически в любом приложении. Их небольшие размеры также позволяют изолировать отдельные компоненты системы, делаяОни идеально подходят для использования в чувствительном оборудовании и электронике. Как и с нашими стандартными изоляторами GX,GX Compact Wire Rope Isolators оснащены запатентованной полностью металлической конструкцией и компонентами, обеспечивающими максимальную надежность, независимо от температуры или требования к подложке.и что может помочь встретить MILSPECS аналогичные тем из нашей серии Wire Rope Isolator. Пожалуйста, ознакомьтесь с нашей информацией о размерах компактных проволочных изоляторов.

 

Виброизолятор троса-бабочки для стабилизатора подвеса БПЛА 0

 

2.Параметры

 

Таблица параметров размеров

Модель Высота ± 1,5 мм Ширина (мм) Масса (кг) Установка опций Через отверстие ((мм) Нить (мм) С √ раствор
GR4-100 42 47 0.63 А, Б, С, Д, Е, С. φ7 M6x1.0 90
GR4-200 53 54 0.63
GR4-300 60 59 0.68
GR4-400 75 58 0.77

 

Таблица 1 Технические параметры серии GR4

Модель Максимальная статическая нагрузка ((N) Максимальное отклонение ((мм) Kv (вибрация) ((KN/m) Ка (шок) (KN/m)
GR4-100 24 19.6 12 5.8
GR4-200 18 29.7 6 2.5
GR4-300 13 35.8 4.4 1.6
GR4-400 6.7 49.3 2.2 0.7

 

Таблица 2 GR4 45° сжатие/нагрузка на рулон

Модель Максимальная статическая нагрузка ((N) Максимальное отклонение ((мм) Kv (вибрация) ((KN/m) Ка (шок) (KN/m)
GR4-100 11 19.3 6.4 2.8
GR4-200 6.7 29.5 3.1 1.1
GR4-300 5.3 37.1 2.2 0.7
GR4-400 3.6 52.3 1.1 0.4

 

Таблица 3 GR4 Нагрузка на стрижку/катушку

Модель Максимальная статическая нагрузка ((N) Максимальное отклонение ((мм) Kv (вибрация) ((KN/m) Ка (шок) (KN/m)
GR4-100 8.5 17.3 1.9 1.9
GR4-200 7.1 26.4 1.1 1.1
GR4-300 5.3 33.3 0.7 0.7
GR4-400 3.3 47 0.4 0.5

 

 

3.Функция

 

● Проектироваться так же, как французское производство
● Устройство с меньшим объемом и весом
● С символами трехмерной переменной жесткости и трения
● Широко применяется на небольших устройствах

 

4.Поле применения

Заявления Типичное оборудование Защита от Операционные преимущества
На борту судна Электроника, компьютеры,
Машины
Взрывный взрыв,
Внутренние вибрации, бури.
Долгий срок службы, без обслуживания,
экстремальные температуры,
устойчивость к коррозии,
Защита всех осей
Транспортные средства на неблагоприятной местности Инструментация, генераторы,
Электроника
Непрекращающаяся местность,
Плохие условия на дорогах,
Столкновение
Долгий срок службы, без обслуживания,
Экстремальные температуры, озон,
Радиоактивность, УФ-излучение
Самолеты Электроника, компьютеры Маневрирование на высоком уровне.
Тяжелые посадки, турбулентный воздух
Экстремальные температуры и высоты, Легкий вес
Корабельные контейнеры Оптика, инструменты, ракеты, электроника

Транзит, доставка, доставка.

Погрузка/разгрузка

Долгий срок службы, без обслуживания,

Воздействие влаги, многократное использование

Промышленное оборудование

 

Центрифуги, сушилки, насосы

Неравновесные динамические нагрузки,

Жидкий молоток, Внутриродные вибрации, слабость фундамента

Долгий срок службы, без обслуживания,

Коррозионные среды

Оружейное оборудование

Ракетные пусковые установки, танки

Артиллерия, Управление компьютером, Электроника

Неблагоприятная местность, железная дорога, транзит Без обслуживания, экстремальные температуры, взрыв вблизи
Медицинское оборудование

Механическое оборудование

необходимы для ухода за пациентом

Вибрации от движущихся частей, мобильные тележки-транспортный удар Без обслуживания, без газификации, можно стерилизовать
Комин

Комин, Скрубер,

Измерительные устройства

Ветер вызывает резонанс

частоты, газовые накопители, вызывающие турбулентность вблизи скраббера и т.д.

Не требует технического обслуживания, экстремальные температуры, коррозионная среда

 

Виброизолятор троса-бабочки для стабилизатора подвеса БПЛА 1Виброизолятор троса-бабочки для стабилизатора подвеса БПЛА 2

Отправьте запрос непосредственно нам

Политика конфиденциальности Китай Хорошее качество Измеритель уровня жидкости Доставщик. 2018-2025 Xi'an Kacise Optronics Co.,Ltd. Все права защищены.